- Новое
Контактная информация
Время работы:
Понедельник-четверг: 9:00 - 17:00
Пятницу: 9:00 - 16:00
8-017-3175941
8-029-1709660
г.Минск, ул. Селицкого, д.113А помещение №56
Доставка:
Транспортными компаниями
Оплата:
Работаем только с юридическими лицами по безналичному расчету.
- Категории
-
- Блоки резисторов ИРАК
- Гидротолкатели ТЭ
- Запчасти к грузоподъемному оборудованию
- Запчасти по чертежам заказчика
- Звонки, Сирены, Ревуны
- Командоконтроллеры
- Контакторы
- Контакты и контактные узлы
- Концевые, путевые, конечные выключатели
- Магнитные катушки
- Муфты
- Обогреватели и ТЭНы
- Переключатели
- Пускатели
- Преобразователи напряжения
- Радиоуправление и пульты управления
- Реле
- Сиденья машинистов, кресло крановщика
- Троллейный шинопровод
- Токоприемники и токосъемники
- Тормозные резисторы
- Тормоза колодочные
- Трансформаторы
- Тормозные колодки и заклепки
- Электромагниты
- Электрощетки и щеткодержатели
- Электродвигатели
- Электротельферы и тали
электромагнит ПЭ36-СГ22С
Электромагнит ПЭ 36СГ-22С - для станочных гидрораспределителей с Ду 6мм, толкающего исполнения, ПВ100%, мощностью 55Н, ходом якоря 5,5 (+- 0,5)мм и напряжением катушки постоянного тока 24В, с соединителем СЭ11-19, IP54
Расшифровка обозначение электромагнит ПЭ36-СГ22С 24В У3
ПЭ - привод электромагнитный
36 - габарит для гидроаппаратуры с Ду 6мм
С - станочного исполнения (допустимое отклонение питающего напряжения +10...-15)
Г - постоянного тока
22 - напряжение управляющей катушки 24В ПВ100%
С - исполнение вывода катушки СЭ11-19 , степень защиты IP54
!!! Возможно другое исполнение выводов катушки
П - соединителем 2РМГ14
Т - соединителем 2РМТ14
А - соединителем AMP Junior Timer. Розетка выводным проводом направлена в противоположную сторону гидроаппарату.
АА - соединителем AMP Junior Timer. Розетка выводным проводом направлена в сторону гидроаппарата.
ДХ - соединителем DIN 43650 A IP65, требуется указать код электрической цепи, встроенной в розетку соединителя
У3 - Климатическое исполнение (могут изготавливаться в ХЛ1, Т3, УХЛ4)
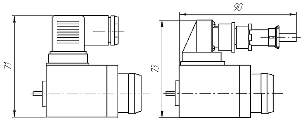
Габаритные и установочные размеры электромагнит ПЭ 36-СГ22С с СЭ11-19 (DIN 43650 A) и 2РМГ
Купить, получить консультацию о технических и эксплуатационных характеристиках электромагнитов ПЭ 36СГ-22С для гидроприводов, вам ответят наши менеджеры. Данные электромагниты прекрасно подходят для замены электромагнитов КВМ 36-Г24 .
Характеристики
- Серия
- ПЭ 36
- Относительная продолжительность включения
- ПВ100
- Номинальное рабочее напряжение, В
- 24
- Род тока
- постоянное (DC)
- Степень защиты ГОСТ14255-80
- IP54, IP65
- Потребляемая мощность, Вт
- 35
- Тяговое усилие, Н
- 55
- Тип привода
- толкающий
- Номинальный ход якоря, мм
- 2.5-5,5 (+-0,5)мм
- Масса, кг
- 0,6
Особые артикулы
Скачать
Pe-36
ПЭ-36 Технические характеристики
Скачать (761.86KB)